連載
西川善司の3DGE:2016年新年企画。任天堂次世代機の姿を公開特許文書から推測する
今年一発めの3Dゲームエクスタシーは,「当たるも八卦,当たらぬも八卦」的な「2016年の予測 featuring 妄想」という,予測と妄想のコラボアルバム的な内容でお送りします。最近の技術動向を踏まえつつ技術情報を読み込んだ筆者による「想像」なので,その点を十分に理解のうえ,外れたら温かいまなざしを,当たったら拍手喝采をよろしくお願いします(笑)。
![]() |
2015年12月初旬,任天堂が米国特許商標庁に出願していた特許技術が公開となった。
特許技術というのは,出願の重複を避けるために定期的に公開されており,各業界の研究者は,こうして公開された情報を吟味することで,「あ,この技術ではもう特許が取得できないな」と理解するわけである。
一方,筆者のような立場の人間からすると,今回の特許技術は,「NX」という開発コードネームで知られる任天堂の次世代機がどうなるかを推測する大きなヒントになる。ならば,筆者も推測してみようというのが,今回のテーマだ。
公開された特許文書に出てくる図を考察
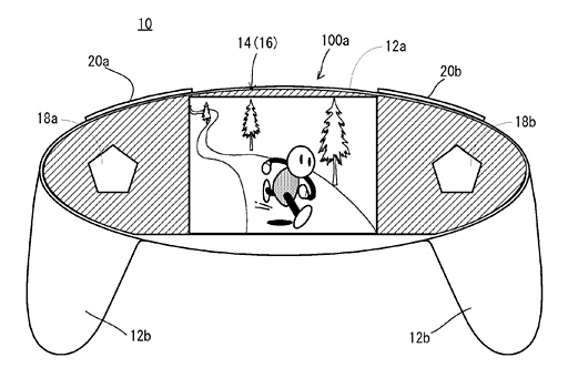
任天堂が出願し,公開された特許技術情報は,極めて具体的な図版を多く含んでいる。そのほとんどがゲームコントローラ――ゲームパッド風だが,今回は便宜的にゲームコントローラと表記する――に関連するもので,次世代ゲーム機の姿を想像するための大きなヒントとなり得るわけだが,まずはその1つを下に示してみよう。
![]() |
ボディ奥側の外郭にはショルダーボタンがあり,左右手前側にホールド用のグリップが突き出て,さらに左右2本のアナログスティックがあるというシルエットは,DUALSHOCK 4やXbox One Controllerなどと同じように使う,スタンダードな両手持ちタイプであるように見える。
ただ,任天堂の次世代機用ゲームコントローラは,天面部が液晶パネルになっているという点で,既存のものとは決定的に異なる。説明に用いられている図を見る限り,この液晶パネルはほぼ額縁がないデザインで,アナログスティックを除く天面部をすべて覆う(=額縁がない液晶パネルの2か所をアナログスティックが貫通するような)デザインになっている点が興味深い。
![]() |
特許文書には,具体的な利用イメージも出ているので,紹介しておこう。タッチセンサー付きの液晶パネルは,「単にゲーム画面を映す」だけではなく,「移動したければこのスティックを倒す」など,ゲームに関連した操作ガイダンスを表示したり,液晶パネル上にアイコンを表示して,それをボタンとして使ってもらうようにしたりといったこともできるようになっているようだ。
![]() |
![]() |
![]() |
なお,これら図版を見る限り,実体のあるボタンは左右のショルダーボタンだけで,WiiおよびWii Uにあったメインの4ボタンは,ゲームコントローラ上から姿を消している。言い換えると,アナログスティックの押し込みとショルダーボタン以外のボタン操作は,液晶画面に表示されるアイコンなどをタッチして行うことになる。
なお,特許文書の26ページ[0028][0029]には,このゲームコントローラが加速度センサーや2軸のジャイロセンサーも搭載し,Wii Uゲームパッド的な「コントローラ自体を動かしてのジェスチャー入力」に対応する旨も記載されていた。
このコントローラ単体がゲーム機として動作する!?
ここからは技術視点で,筆者独自の“妄想的”考察を行っていきたい。
まずは,この特許文書に描かれているコントローラが「果たしてただのゲームコントローラなのか」という点からだ。
![]() |
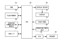
そう考えるに至った根拠はいくつかあるのだが,技術文書の端々から,高度なプロセッサ(=CPU)と容量の大きなメインメモリ,豊富な周辺I/O機能を備えていることが読み取れる。たとえば35ページの[0176][0177]がそうだ。また,同じく35ページの[0178][0179]あたりを見ると,「内蔵の無線LANコントローラを使ってほかのコンピュータやインターネットに接続できるようになっており,インターネットからゲームプログラムをダウンロードして実行し,ほかのユーザーと通信しながらゲームプレイを行える」といったことまで書かれていたりするのは大きい。
「単体でインターネットに接続できる」という機能は「Webブラウザを実行できる」という意味にも取れるわけだが,実際,技術文書には,Webブラウザを縦画面で利用したときのイメージもあり,とても興味深い。
![]() |
「ゲームを単体で実行できる」「Webブラウザを実行できる」ということから,搭載するプロセッサは,最低でも,今日(こんにち)のスマートフォンクラスのSoC(System-on-a-Chip)だと,筆者は考えている。NVIDIAの「Tegra X1」に代表される,3D性能の高いハイエンドSoCを採用している可能性も十分にあるだろう。
![]() |
特許文書には,「旧世代ゲーム機のゲームを動かしたときの想定図解」までが紹介されているのも印象的だ。
![]() |
ニンテンドーDSやニンテンドー3DS,あるいはWii Uとの互換機能を搭載するのかどうかは明示されていないが,仮に互換機能を持つとすると,ニンテンドーDSやニンテンドー3DS用のゲームタイトルをプレイするにあたっては,追加画面が必要になる。
もし,NVIDIAの「SHIELD Portable」のようなクラムシェルチックな追加ディスプレイが装着可能だとすると,下画面となるコントローラ側はタッチ対応なので,ニンテンドーDSおよびニンテンドー3DSが持つ操作系との辻褄は合う。また,そこまで大がかりでなくとも,Wii UとWii U GamePad的なイメージで,テレビなどのディスプレイデバイスと組み合わせれば,追加のコストなしで2画面構成をとることもできるだろう。
額縁レス&穴あきディスプレイパネルの正体は?
続いては,今回明らかになったゲームコントローラ(的ゲーム機?)の根幹技術ともいえる,特徴的な液晶パネルについてだ。
筆者は,これがシャープの「Free Form Display」(以下,FFD)技術を使った液晶パネルだと確実視している。ニンテンドーDSとニンテンドー3DSの液晶パネルをシャープが供給してきたという,過去の任天堂とシャープの関係を鑑みても,ほぼ間違いない。
![]() |
![]() |
![]() |
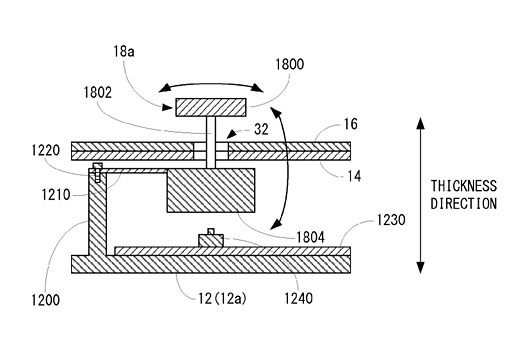
2014年に一般公開されたシャープのFFD技術は,液晶画素を駆動するゲートドライバーなどを画素単位に形成することで,画素単位の自由形状切り出しを可能にしている。この技術を活用して,液晶パネルに穴を開け,そこにアナログスティックを通しているはずだ。
![]() |
| アナログスティック部の断面図 |
![]() |
| 図中「32」はアナログスティックを貫通させるための穴。アドレス線が穴を迂回していることと,「切り落とした画素」が円形ではなく矩形であることがこの図から読み取れよう |
なお,特許文書の27ページ[0072]には,ニンテンドー3DSと同形式の液晶視差マスクを組み合わせた裸眼立体視とタッチパネルにも対応可能だという記述があった。これは,ニンテンドー3DS的な立体視に対応し,また,ニンテンドー3DSでは下側の平面視対応液晶パネル側でしか行えなかったタッチ操作を,この新型コントローラでは立体視対応の画面にも適用していく可能性を示唆していることになる。
次世代ゲーム機であるNXの「考えられる3パターン」
公開された特許文書から読み取れるのは,ざっとこのくらいだろうか。
文書に書かれていない事柄で最大の謎となるのは,「箱型の本体に相当するものが存在するのかどうか」という部分である。この新型ゲームコントローラが単体でゲーム機として完結すると仮定しても,だ。
書かれていない以上,この点については想像するしかないのだが,それでも,いくつかのパターンには絞り込める。
![]() |
Wii Uの発売は2012年の年末だ。任天堂側で,Wii U自体を世代交代させるにはまだ早いという判断があった場合,このパターンの可能性は十分にあり得るだろう。
2つめは,Wii Uのライフタイムを早々に切り上げ,新世代の据え置き型ゲーム機を設定したうえで,この新しいゲームコントローラもリリースするというものだ。つまり,新世代の据え置き型ゲーム機として本体が登場し,特許文書にある新型ゲームコントローラは,単体でもゲーム機として利用でき,さらに新世代据え置き型ゲーム機の専用コントローラにもなるというわけである。
いわば,Wii UとWii U Game Padのような関係であるが,この場合,新型ゲームコントローラが,単体で携帯ゲーム機として使えるというのが,Wii U GamePadとは決定的に異なるポイントとなる。「リモートプレイでつながったPlayStation 4&3とPlayStation Vita」の関係を拡張したようなイメージだろうか。PlayStation VitaがPlayStation 4とPlayStation 3の両方でリモートプレイに対応するのと同じように,新型ゲームコントローラが,新世代ゲーム機とWii Uの両方で使えるようになる,という可能性はあるかもしれない。
このパターンでは,新型のゲームコントローラ単体でもゲームをプレイできるが,ベースステーションとなる新世代据え置き型ゲーム機本体と組み合わせれば,より規模の大きいゲームが遊べたり,本体側のパワフルなGPUで近代的なグラフィックスも楽しめたりすることになる。
3つめは,この新型ゲームコントローラが,「携帯ゲーム機モード」と「据え置き型ゲーム機モード」,2つの動作モードを持つというものである。
AC電源を接続したときに限り,内蔵するプロセッサがフルスペックで稼動し,ハイエンドの据え置き型ゲーム機としてその性能を遺憾なく発揮するが,バッテリー駆動時や,あえて携帯ゲーム機モードにしてあるときは,相応の消費電力と性能で動くというイメージだ。
「世界の据え置き型ゲーム機市場はPlayStation 4とXbox Oneによる熾烈な戦いが佳境に入っており,このタイミングで両ハードに対して正面から挑むことは得策ではない」「かといってスマートフォン全盛というこのタイミングで,携帯ゲーム機1本でやっていけるとは思えない」「であれば,1台で,据え置き機と携帯機のいいとこ取りをするのはどうか」。そんなストーリーが任天堂の中であったとすれば,この選択もないとはいえないだろう。
2つめと3つめの場合,据え置き型ゲーム機としてのスペックが,ここ数年,北米市場を中心としてリリースされ,目立った戦果を挙げていないAndroidベースのセットトップボックス的なものだったりすると,物議を醸しそうだが,それも「なきにしもあらず」だ。任天堂がどの市場を狙っているかで,据え置き型ゲーム機としての性能は左右されそうである。
明らかになったゲームコントローラはNXの一部なのか,NXそのものなのか
![]() |
いずれにせよ,今年のE3 2016でNXと呼ばれる新型ゲーム機の正体は明らかになるはずである。首を長くして待ちたい。
任天堂公式Webサイト
- 関連タイトル:
Nintendo Switch本体
- この記事のURL:


































